| 产品标题:PK-06,天工 STNC 电磁阀 产品ID:VIB20090923085327734 品 牌:STNC索诺天工 所在地:中国 上海 价 格:面议 (大量采购价格面议) 库存状态:货期待查 更新日期:2025-4-24 12:41:02 咨询电话:(+86)021-51699285 咨询Q Q: 2695337323 |
公司已通过 ISO9001:2000国际质量体系认证、欧盟ROHS指令认证及CE认证、美国UL认证
公司不断引进国际先进生产技术与设备,现有厂房 20000平方米,各类设备515台,其中数控车床76台,加工中心6台,精密自动轴芯机2台以及电脑控制检测设备3台、超声波清洗机2台,确保了高精度、高效率、高品质生产。
| 图形符号
| ||||||||||||||||||||||||||||||
|
● 订购代码
| ||||||||||||||||||||||||||||||
| ■ 特长
活塞直动式,快速反应。可多用途使用。高效率,长寿命。优良的防水性能。配线方向灵活。外形美观流量可调。 | ||||||||||||||||||||||||||||||
|
■ 技术参数
| ||||||||||||||||||||||||||||||
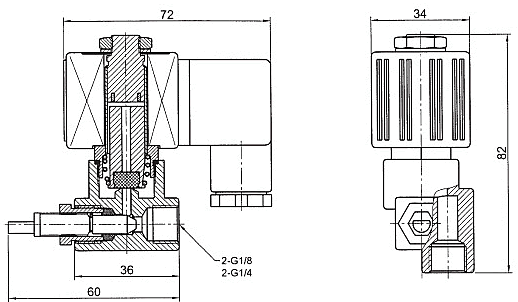
■ 外形尺寸![]() | ||||||||||||||||||||||||||||||

